 Your new post is loading...
 Your new post is loading...
|
Scooped by
Goulu
July 18, 2016 6:34 AM
|
Un comic strip en couleurs, qui beaucoup de sciences, de physique, de science fiction, de toutes les sciences académiques, mais aussi de la vie, de la mort, de la famille, de la religion et de tas d'autres choses, mais n'importe comment. Un comic strip incisif, pertinent, par Zac
|
Scooped by
Goulu
July 13, 2016 2:47 AM
|
Les biais cognitifs sont des erreurs systémiques qui prédisposent notre pensée à adopter un point de vue plutôt qu'un autre.
|
Scooped by
Goulu
July 13, 2016 2:46 AM
|
La compréhension des facteurs qui permettent aux Japonais de vivre aussi longtemps sera bénéfique pour les politiques globales de santé publique, notamment pour les pays qui luttent pour améliorer leur santé publ...
|
Scooped by
Goulu
July 13, 2016 2:46 AM
|
Mangez des oranges ! La vitamine C qu’elles contiennent protège notre santé. Son action est antioxydante. Mais aussi, parfois… oxydante !
|
Scooped by
Goulu
July 13, 2016 2:45 AM
|
Harry K. asks: Why are raindrops always so small. Would it be possible to have a single raindrop that contains gallons of water? At only about half as wide in diameter as a U.S.
|
Scooped by
Goulu
July 13, 2016 2:43 AM
|
An MIT study finds clusters of small satellites estimate Earth’s reflected radiation more accurately than single, massive satellites. Data from such clusters could help scientists better pinpoint the causes of climate change.
|
Scooped by
Goulu
July 11, 2016 7:03 AM
|
Les effets sanitaires des rayonnements dépendent en premier lieu de la quantité d’énergie reçue, appelée « dose absorbée ». On l’exprime en joule par kilogramme de matière vivante, c’est le gray (Gy). Le gray correspond à une forte irradiation. Les débits de doses que nous recevons de la radioactivité naturelle sont de l’ordre de quelques milligray (mGy) par an, de 2,5 à 100 mGy/an selon les endroits du globe. Les effets sanitaires dépendent aussi de la nature des rayonnements : par exemple, les rayons alpha sont vingt fois plus « efficaces » (pour entraîner un cancer) que les rayons gamma ou bêta. Ils dépendent aussi de la nature des organes irradiés. La « dose efficace » est supposée mesurer le risque sanitaire des radiations et est exprimée en sievert (Sv). Pour une irradiation homogène de tout l’organisme, par exemple par des rayons X ou gamma, la dose absorbée (en gray) et la dose efficace (en sieverts) sont égales. Il n’en est pas de même quand l’irradiation est inhomogène, comme c’est le plus souvent le cas lors de procédures médicales (diagnostiques ou thérapeutiques) ou de contamination par des produits radioactifs.
|
Scooped by
Goulu
June 26, 2016 6:29 AM
|
Sirtin a récemment fait remonter l’origine de l’informatique aux métiers à tisser Jacquard, « programmables » par cartes perforées au tout début du XIXème siècle déjà. Pour ma part je n’adhère pas à cette filiation car les métiers Jacquard ne connaissaient pas la notion de boucle conditionnelle. Une idée fondatrice de la programmation, c’est de pouvoir coder « répète 123 fois le motif », et que la machine ait un moyen de compter jusqu’à 123, ce qui implique l’existence d’une mémoire dont le contenu est modifié par les instructions du programme. Comme l’a très bien exprimé Alan Perlis : « Un programme sans boucle et sans structure de données ne vaut pas la peine d’être écrit. » Alors qui a écrit le premier programme valant la peine d’être écrit, la première boucle ?
|
Scooped by
Goulu
June 5, 2016 5:33 AM
|
Last month, Nest made quite a few people upset by announcing plans to brick their Revolv smart home hubs. The company no longer wanted to support the product, so it decided to pull the plug for good.
|
Scooped by
Goulu
June 5, 2016 5:25 AM
|
Matériau clé des nouvelles générations de batteries, le vanadium peut être extrait des déchets industriels. Des caractéristiques prometteuses à l’heure du déploiement des énergies renouvelables.
|
Scooped by
Goulu
May 20, 2016 2:22 AM
|
Wow! What a great example of von Kármán vortices! This image, taken by Landsat 8 on May 3, 2016, shows a layer of stratocumulus clouds over the southern Indian Ocean.
|
Scooped by
Goulu
May 20, 2016 2:17 AM
|
For a simple protozoan, Toxoplasma gondii has experienced something of a meteoric rise in popularity over the past several years. Actually, to be fair T. gondii has garnered quite a bit of interest since the 1930s, when it was discovered the parasite could be transmitted from a mother to a fetus in the womb, sometimes resulting in severe congenital disorders. Curiosity about T. gondii grew significantly in the early 2000s, however, when it was found that T. gondii infection in mice and rats might influence the behavior of the rodents so as to make them less afraid of cats.
|
Scooped by
Goulu
May 20, 2016 2:12 AM
|
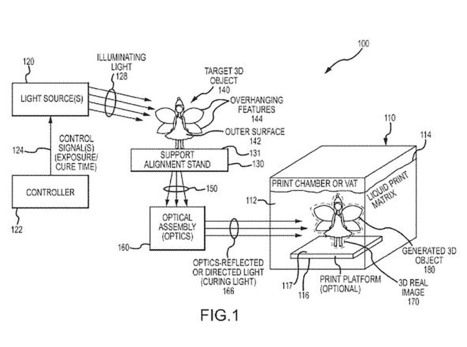
Disney Research has designed a new 3D printer that utilizes light on photosensitive resin so that models can be printed out as whole objects instead of by the layer, cutting down 3D printing from hours down to just minutes.
|
|
Scooped by
Goulu
July 13, 2016 2:48 AM
|
A new study indicates thumb sucking and nail biting could be beneficial for the immune system, lending support to the "hygiene hypothesis."
|
Scooped by
Goulu
July 13, 2016 2:46 AM
|
Scientists may have overcome a major roadblock in the development of Alzheimer's therapies by creating a new technology to observe -- in the back of the eye -- progression of the disease before the onset of symptoms.
|
Scooped by
Goulu
July 13, 2016 2:46 AM
|
Pour la première fois, la consommation mondiale de poissons a dépassé 20 kilos par an et par habitant. Les poissons sont de moins en moins nombreux dans les océans.
|
Scooped by
Goulu
July 13, 2016 2:45 AM
|
Reportée à deux reprises, l'interdiction des sacs plastiques à usage unique est finalement effective depuis le 1er juillet. Même si des alternatives existent, la matière plastique n'est pas prête de déserter pour autant les caisses des magasins.
|
Scooped by
Goulu
July 13, 2016 2:43 AM
|
Un énorme gisement d'hélium vient d'être trouvé en Tanzanie. Avec lui, on redécouvre les enjeux stratégiques autour d'un gaz aux multiples applications industrielles et médicales mais dont la production a du mal à être rentable.
|
Scooped by
Goulu
July 11, 2016 7:04 AM
|
Airbus has just filed a patent for a new concept helicopter that offers improvements over their current X3 aircraft, particularly in increasing its speed.
|
Scooped by
Goulu
July 10, 2016 3:29 PM
|
Les trous noirs sont des objets extrêmement déroutants. La plupart des explications « grand public » qui leur sont consacrés, y compris la mienne, se limitent à décrire un modèle de trou noir très simplifié : le trou noir de Schwarzschild, qui ne tourne pas sur lui-même. Mais ces trous noirs n’existent probablement pas : dans l’Univers, les vrais trous noirs tournent très très vite, et ça change pas mal de choses.
|
Scooped by
Goulu
June 8, 2016 8:59 AM
|
La supraconductivité est au coeur de nombreuses études en physique, de par ses caractéristiques électroniques permettant le transport de courant sans pertes et la création de champs magnétiques très intenses. Ces champs magnétiques sont un élément indispensable pour l’imagerie médicale et pour l’analyse des molécules complexes comme celles utilisées dans les médicaments, mais aussi pour les accélérateurs de particules. Afin de permettre la création de champs magnétiques toujours plus élevés, des physiciens de l’Université de Genève (UNIGE) se sont associés à une équipe de R&D de l’entreprise Bruker BioSpin basée à Fällanden (ZH), Suisse. Cette collaboration, débutée en 2012 et financée en partie par le Fonds national suisse (FNS), a porté ses fruits. En effet, les chercheurs de l’UNIGE et de Bruker BioSpin ont mis au point et testé avec succès la première bobine supraconductrice pouvant générer un champ magnétique de 25 teslas. Une première en Europe.
|
Scooped by
Goulu
June 5, 2016 5:27 AM
|
Une des questions qu’on me pose le plus souvent est : trouves-tu qu’il se prescrit trop de médicaments ?
|
Scooped by
Goulu
June 5, 2016 5:20 AM
|
Globally, inequality is falling. You may not have known that, because within countries, inequality is rising. We live in dangerous times. Why? We talked to the man who wrote the book on it. Read more...
|
Scooped by
Goulu
May 20, 2016 2:18 AM
|
Il y a 2,7 milliards d’années, l’atmosphère était moins épaisse qu’aujourd’hui. C’est ce qu’affirment des chercheurs qui ont mesuré les bulles d’air incluses dans des laves. Anecdotique ? Pas du tout.
|
Scooped by
Goulu
May 20, 2016 2:13 AM
|
Dans la littérature du moment, il est courant de constater combien les écrits et autres pamphlets, parlantd’évolution possible des sources primaires d’énergie et de leur répartition dans le monde, sous-estiment la viscosité, dans le temps, des processus de substituabilité. Certains magiciens prédisent la disparition du charbon mais oublient de préciser par quelle ressource le remplacer et à quel prix, d’autres prêchent pour la disparition imminente des ressources énergétiques traditionnelles et pour leur substitution par les énergies renouvelables tout en omettant d’aborder les problèmes majeurs posés par l’intermittence de ces ressources éoliennes et solaires
|